助力瓜分优惠券【新版】
功能概述
银豹官网支持「助力瓜分优惠券」营销功能,方便商家灵活发券营销。商家在后台配置活动规则,用户通过小程序邀好友助力瓜分,带动好友互动,以老带新实现裂变引流,提升店铺转化与交易。
● 邀请助力瓜分优惠券:会员身份即可参与分享,单人无法领取,需邀请多人助力成团,满员后方可成功领取优惠券。
● 裂变优惠券:会员完成支付后即可分享,优优惠券领取即成功。
使用前提
1、商户需开通专业版及以上服务版本
2、小程序模板需更新至「新装修模板」V1.0.664 及以上版本
配置教程
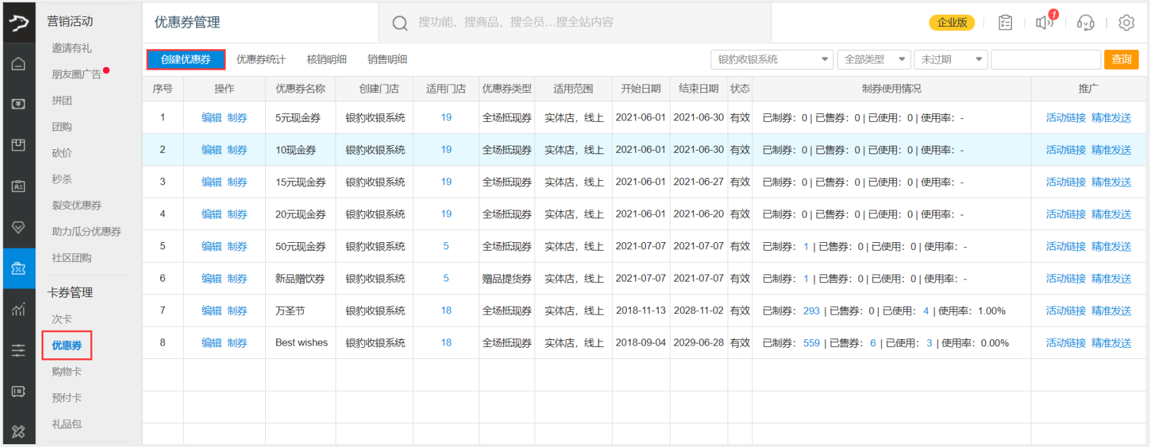
步骤1 创建优惠券
登录银豹官网后台,按需创建用于关联「助力瓜分优惠券」活动的优惠券。
举例:创建 5 人拼手气瓜分 100 元现金券活动,需提前创建 5 元、10 元、15 元、20 元、50 元的全场抵现优惠券。
路径1 :营销 - 卡券管理 - 优惠券(旧版)
路径2 :营销 - 工具箱 - 优惠券(新版)
步骤2 创建助力瓜分优惠券活动
操作路径
营销-工具箱-助力瓜分优惠券
操作说明
1、进入新版助力瓜分优惠券页面后,点击左上角【创建活动】按钮,进入活动配置页面。

2、在创建活动页面,完成以下基础信息编辑:
* 活动名称:最多 32 字符
* 活动日期:设置活动开始日期、结束日期
* 适用门店:连锁店登录总部,可勾选适用门店
* 活动发行券包: 填写活动发行券包数量
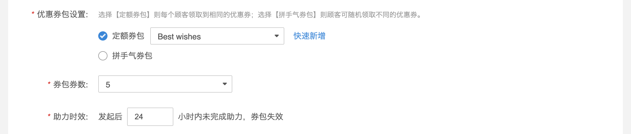
* 优惠券包设置:可选择「定额券包」/「拼手气券包」
优惠券包里券的数量会包含发起者,例:设置数量为 7 ,那么就需要邀请 6 个人助力。
选择「定额券包」则每个顾客领取到相同的优惠券,需设置券包券数、助力时效(发起后超时效未完成助力,券包失效)。
选择「拼手气券包」则顾客可随机领取不同的优惠券,按需添加优惠券并设置各券的数量配比,同时设置助力时效。
3、基础信息配置完成后,可根据活动需求设置以下拓展规则:
• 指定发起人得券:「随机」/「指定券包里的优惠券」
• 选择「指定券包里的」时,发起人可获得券包内的指定券作为特殊奖励;建议该券的数量配比设置为1,打造专属仪式感。
• 发起限制:「不限制」/「每人活动期间最多可发起 X 次」/「每人每天最多可发起 X 次」
控制用户发起助力活动的次数上限。
• 助力限制:选项:「不限制」/「每人活动期间最多可助力 X 次」/「每人每天最多可助力 X 次」
控制用户帮他人助力的次数上限。
• 模拟助力成功:「禁用」/「启用」
启用后,助力时效结束前系统会自动将助力状态设为成功;即使主分享者在活动时间内没有找够好友成功助力瓜分优惠券,主分享者也能获得指定券包里的优惠券。
4、设置通知计划
选择是否推送短信通知,若选择「推送」,可配置推送时间、目标对象,自定义短信内容。
5、所有活动信息配置完成后,点击页面【发布活动】按钮,完成活动创建。
6、活动发布成功后,会展示在活动列表中,可按需对活动执行以下操作:
未开始 / 进行中活动:支持编辑、复用、禁用
已禁用活动:支持编辑、复用、启用、删除(注:删除需先禁用)
已结束活动:支持查看、复用、禁用
步骤3 小程序装修
▶ 配置活动入口
在小程序显眼位置配置活动入口,搭配色彩图片吸引用户参与活动。
可配置页面:导航设置、首页、全部商品、自定义页面、会员中心
可配置模块:所有支持自定义链接的博客首页(选择链接-活动链接-活动类型-助力瓜分优惠券)
操作路径
银豹官网装修后台,店铺装修-小程序页面-微信商城
1、进入首页编辑页,拖动左侧【单列海报】模块至模拟器中,上传活动海报,点击选择链接。
2、在选择关联窗口中依次操作:【活动链接】→ 活动类型选 “助力瓜分优惠券”→ 选定目标活动 → 点击【确定】
3、装修完成后,可先预览效果,确认无误后点击保存并发布小程序。
效果展示
▶ 装修活动分享窗口
操作路径
银豹官网装修后台, 店铺装修 - 全店风格 - 微信分享图
操作说明
1、进入微信分享图页面找到“瓜分优惠券窗口分享”活动,点击【编辑】进入详情页。
2、未自定义时,标题默认显示 “xxxx 好友喊你助力瓜分优惠券啦!”,分享图为系统默认截图。
3、若需自定义窗口,可切换至 “自定义格式” 标签页,设置不超过 26 个字符的标题,并上传长宽比 5:4、单张不超过 800k 的 jpg/png 格式图片。

4、完成设置后,点击【发布】。
步骤4 活动推广
1、下载太阳码:店内宣导活动,让顾客访问已装修的小程序参与并分享活动,增加裂变效果。
2、复制链接:线上渠道添加活动链接,增加曝光,比如公众号软文可添加活动链接。

3、人群营销:针对会员标签筛选条件,实现不同人群的活动推广。(前往会员数据营销中台)
场景展示
助力瓜分优惠券玩法分为定额优惠券和拼手气优惠券,我们以“拼手气优惠券”玩法为例进行场景展示
主分享者
会员通过商家小程序活动入口进入助力瓜分优惠券活动页,点击【立即邀请】,可转发微信好友或微信群,邀请好友助力瓜分优惠券。
主分享者分享活动给好友后,在活动页面可查看好友助力进度,指定数量好友助力成功后,页面会提示“已集齐好友助力!轻松获得奖励!¥50 ”,点击【查看大家手气】,可查看所有助力者获得的拼手气优惠券。
商家如果有配置小程序订阅消息,主分享者分享订阅后,助力成功会收到助力成功提醒
助力者
好友打开分享链接,帮好友助力,助力完成提示“助力成功”,且助力者会随机获得拼手气优惠券,助力者帮好友助力成功后,可自己分享活动邀请好友助力,也可帮好友发起邀请帮好友助力。
商家查看活动效果
商家在银豹官网后台查看活动效果统计数据,便于及时监测活动进展并调整策略。
操作路径
银豹官网后台,营销-工具箱-助力瓜分优惠券
操作说明
1、进入在助力瓜分优惠券页面,可筛选条件或输入活动名称快速找到目标活动。
2、点击目标活动操作栏中的【效果统计】,即可打开 “优惠券统计” 弹窗,查看该活动关联优惠券的已参与活动次数、剩余数量、使用情况。

























